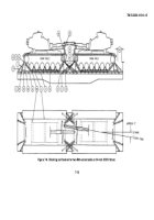
TM-55-2350-215-10-15

TANK, COMBAT, FULL-TRACKED, M60-SERIES

TRANSPORTABILITY GUIDANCE

  TM-55-2350-215-10-15 - Page 66 of 66

This fine document.
..
Was brought to you by me:
Liberated Manuals -- free army and government manuals
Why do I do it? I am tired of sleazy CD-ROM sellers, who take publicly
available information, slap “watermarks” and other junk on it, and sell it.
Those masters of search engine manipulation make sure that their sites that
sell free information, come up first in search engines. They did not create it.
..
They did not even scan it.
.. Why should they get your money? Why are not
letting you give those free manuals to your friends?
I am setting this document FREE. This document was made by the US
Government and is NOT protected by Copyright. Feel free to share,
republish, sell and so on.
I am not asking you for donations, fees or handouts. If you can, please
provide a link to liberatedmanuals.com, so that free manuals come up first in
search engines:
<A HREF=
>Free Military and Government Manuals</A>
Sincerely
Igor Chudov


Back to Top