TM-9-2350-277-24P

CARRIER M113A3, M577A3, M1059A3, M1064A3, M1068A3 AND M58

TECHNICAL MANUAL; UNIT, DIRECT SUPPORT, AND GENERAL SUPPORT MAINTENANCE REPAIR PARTS AND SPECIAL TOOLS LIST (INCLUDING DEPOT MAINTENANCE REPAIR PARTS AND SPECIAL TOOLS LIST)

  TM-9-2350-277-24P - Page 233 of 1252

SECTION II
TM 9-2350-277-24P
C03
(1)
(2)
(3)
(4)
(5)
(6)
(7)
ITEM
SMR
NSN
PART
DESCRIPTION AND
NO
CAGE
NUMBER
USABLE ON CODE (UOC)
QTY
GROUP 0612 BATTERIES, STORAGE (WET
OR DRY) CONTINUED
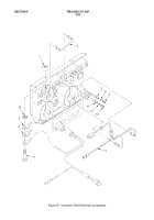
FIG. 95 BATTERY BOX COVER AND
MOUNTING
(M577A3,M1068A3)
1
PAOZZ
19207 10886357
BUMPER,NONMETALLIC.
.................
9
UOC:AP3,AP5,
2
PAOZZ
19207 12382154
COVER, BATTERY BOX.
.................
1
UOC:AP3,AP5,
3
PAOZZ
19207 12268721
BUMPER,NONMETALLIC.
.................
2
UOC:AP5,
4
PAOZZ
88044 AN970-6
WASHER,FLAT.
........................
2
UOC:AP5,
5
PAOZZ
96906 MS27183-15
WASHER,FLAT.
........................
2
UOC:AP5,
6
PAOZZ
80204 B1821BH038C113N
SCREW,CAP,HEXAGON H.
................
2
UOC:AP5,
7
PAOZZ
80204 B1821BH038C150N
SCREW,CAP,HEXAGON H.
................
8
UOC:AP3,AP5,
8
PAOZZ
80205 MS35338-65
WASHER,LOCK.
........................
8
UOC:AP3,AP5,
9
PAOZZ
96906 MS27183-14
WASHER,FLAT.
........................
8
UOC:AP3,AP5,
10
PAOZZ
19207 8737857
MOUNT,RESILIENT.
....................
8
UOC:AP5,
11
PAOZZ
19200 10910174-5
WASHER,FLAT.
........................
8
UOC:AP3,AP5,
12
PAOZZ
19207 10917219
NUT,SELF-LOCKING,WI.
................
2
UOC:AP5,
13
PAOZZ
19207 8690468
STRAP,WEBBING.
......................
4
UOC:AP5,
14
PAOZZ
80205 MS21266-4N
GROMMET,NONMETALLIC.
................
1
UOC:AP3,AP5,
15
PAOZZ
81343 MS3367-7-0
STRAP,TIEDOWN,ELECT.
................
5
UOC:AP3,AP5,
16
PAOZZ
81343 AS21919WDG11
CLAMP,LOOP.
.........................
2
UOC:AP3,AP5,
17
PAOZZ
81343 AS21919WDG12
CLAMP,LOOP.
.........................
2
UOC:AP3,AP5,
18
PAOZZ
80205 MS35333-39
WASHER,LOCK.
........................
3
UOC:AP3,AP5,
19
PAOZZ
05047 ASME B18.6.3
SCREW,MACHINE.
......................
3
UOC:AP3,AP5,
20
PAOZZ
19207 10943071-1
RACK,BATTERY.
.......................
1
UOC:AP3,AP5,
END OF FIGURE
95-1


Back to Top