TM-9-2320-365-20-2

M1078 SERIES, 2 1/2-TON, 4 X 4, LIGHT MEDIUM TACTICAL VEHICLES (LMTV)

TECHNICAL MANUAL; MAINTENANCE INSTRUCTIONS; UNIT MAINTENANCE; VOLUME NO. 2 OF 5

FEBRUARY 2006
CHANGE 3

  TM-9-2320-365-20-2 - Page 79 of 1432

TM 9-2320-365-20-2
TM 9-2320-365-20-2
TM 9-2320-365-20-2
TM 9-2320-365-20-2
TM 9-2320-365-20-2
2-1133
2-1133
2-1133
2-1133
2-1133
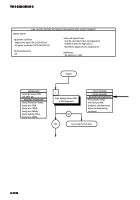
CONTINUITY TEST
(1)
Open door on 110/208 VAC POWER
DISTRIBUTION PANEL (TM 9-2320-365-10).
(2)
Position circuit breaker CB1 to OFF
(TM 9-2320-365-10).
(3)
Remove six screws and cover from 110/208
VAC POWER DISTRIBUTION PANEL.
(4)
Loosen screw in terminal board TB4.
(5)
Remove wire 1499J from terminal board TB4.
(6)
Remove diffuser from lighting fixture DS80.
(7)
Remove tube lock holder from each end of two
fluorescent lamps.
(8)
Remove two fluorescent lamps from lighting
fixture DS80.
(9)
Remove ballast cover from lighting fixture DS80.
(10)
Set multimeter to ohms.
(11)
Connect positive (+) probe of multimeter to wire
1499J in 110/208 VAC POWER DISTRIBUTION
PANEL.
(12)
Connect negative (-) probe of multimeter to wire
1499J in lighting fixture DS80 and note reading
on multimeter.
(13)
If continuity is not present, repair or replace wire
1499J (para 2-40).
(14)
If continuity is present, repair or replace wire
3085C (para 2-40).
(15)
Install ballast cover on lighting fixture DS80.
(16)
Install two fluorescent lamps in lighting fixture
DS80.
(17)
Install tube lock holder at each end of two
fluorescent lamps.
(18)
Install diffuser on lighting fixture DS80.
(19)
Install wire 1499J on terminal board TB4.
(20)
Tighten screw in terminal board TB4.
(21)
Install cover on 110/208 VAC POWER
DISTRIBUTION PANEL with six screws.
(22)
Close door on 110/208 VAC POWER
DISTRIBUTION PANEL.


Back to Top