TM-9-2320-366-20-1

M1083 SERIES, 5 TON, 6x6, MEDIUM TACTICAL VEHICLES (MTV)

TECHNICAL MANUAL; MAINTENANCE INSTRUCTIONS; UNIT MAINTENANCE; VOLUME NO. 1 OF 5

FEBRUARY 2006
CHANGE 3

  TM-9-2320-366-20-1 - Page 1305 of 1824

TM 9-2320-366-20-1
Change 1
2-748.1
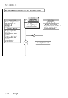
CONTINUITY TEST
(1) Remove instrument panel assembly for
access (para 7-15).
(2) Disconnect turn signal switch connector
from connector J19.
(3) Position turn signal switch to center
position (TM 9-2320-366-10-1).
(4) Set multimeter to ohms.
(5) Connect positive (+) probe of multimeter
to turn signal switch connector socket 6.
(6) Connect negative (-) probe of multimeter
to turn signal switch connector socket 2
(LH) or socket 3 (RH) and note reading on
multimeter.
(7) If continuity is not present, replace turn
signal switch (para 7-26).
(8) Connect connector J19 to turn signal
switch connector.
(9) Install instrument panel assembly
(para 7-15).
Inspect connector pins/sockets for damage,
corrosion, and serviceability.
Check that
connector pins are not pushed back and
are capable of making good contact.
NOTE
Use care when testing electrical connectors.
Do not damage connector pins or sockets
with multimeter probes.
Failure to comply
may result in damage to equipment.
CAUTION


Back to Top