TM-9-2320-272-24-2

TRUCK, 5-TON, 6X6, M939, M939A1, AND M939A2 SERIES TRUCKS (DIESEL)

TECHNICAL MANUAL; UNIT, DIRECT SUPPORT, AND GENERAL SUPPORT MAINTENANCE MANUAL; VOLUME 2 OF 4

JUNE 1998

  TM-9-2320-272-24-2 - Page 112 of 991

TM 9-2320-272-24-2
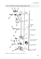
3-260. CARGO SPARE TIRE CARRIER ACCESS STEP REPLACEMENT
THIS TASK COVERS:
a. Removal
b. Installation
INITIAL SETUP:
APPLICABLE MODELS
REFERENCES (TM)
M923/A1/A2, M925/A1/A2, M927/A1/A2,
TM 9-2320-272-10
M928/A1/A2
TM 9-2320-272-24P
TOOLS
EQUIPMENT CONDITION
General mechanic’s tool kit (Appendix E, Item 1)
Parking brake set (TM 9-2320-272-10).
MATERIALS/PARTS
GENERAL SAFETY INSTRUCTIONS
Four locknuts (Appendix D, Item 296)
Do not perform this task near flames.
Rags (Appendix C, Item 58)
WARNING
Diesel fuel is highly flammable. Do not perform this procedure
near open flame. Injury to personnel may result.
1.
Remove fuel cap (2), chain (3), and strainer (5) from fuel tank (6). Wrap strainer (5) with rags,
2.
Remove four locknuts (7), screws (l), washers (9), and step bracket (4) from carrier base (8). Discard
locknuts (7).
1.
Install step bracket (4) on carrier base (8) with four screws (1). washers (9), and new locknuts (7).
2.
Install strainer (5), chain (3), and fuel cap (2) in fuel tank (6).
3-720


Back to Top